  |
|
笛形匀速管与孔板的差压式流量传感器一样都遵循伯努利方程。它是通过管道的平均流速及管道的有效截面积的乘积来确定流量的。 |
|
一般管道中的流速分布是不均匀的。如果是充分发展的流体,其速度分布为指数规律。为了准确计量,将整个圆截面分成四个单元 面积相等的两个半圆及两个半环。阿牛巴流量计的检测杆是由一根中空的金属管组成,布置在垂直于流向的工艺管道中,迎流面钻两对总压孔,分别处于各单元面积的中央,它们分别反映了各单元面积的流速大小。由于各总压孔是相通的,传至检测杆中的各点总压值平均后,由总压引出管经高压接头,送到变送器的正压室。 |
|
当笛型匀速管正确安装在有足够长度直管段的工艺管道上时,流量截面上应没有旋涡,整个截面的静压可认为是常数。在检测杆的背面中间设有检测孔,代表了整个截面的静压。经静压引出管由低压接头引至变送器的负压室,正、负压室测得的差压的平方与流量截面的平均流速成正比,从而获得差压与流量成正比的关系。 |
|
 |
|
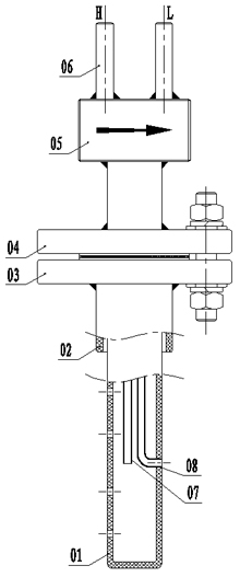
1.法兰连接笛型匀速管传感器结构 |
2.螺纹连接笛型匀速管传感结构 |
 |
|
1.测量管 |
|
2.支撑管 |
|
3.支撑法兰 |
|
4.测量管固定法兰 |
|
5.连接座 |
|
6.引压管 |
|
7.(正压)毛细引压管 |
|
8.(低压)毛细引压管 |
|
|
 |
|
1.测量管 |
|
2.支撑管 |
|
3.连接螺母 |
|
4.测量管固定螺纹连接件 |
|
5.连接座 |
|
6.引压管 |
|
7.(正压)毛细引压管 |
|
8.(低压)毛细引压管 |
|
|
 |
|
|
永久压损低 |
笛形匀速管的永久压力损失仅占差压的2~15%,而一般孔板的永久损失却要占差压的40~80%。随着管径的增大,阿牛巴永久压损可忽略不计,大大节省了动能成本 |
|
测量精度高、稳定性好 |
准确度可达1.5%,稳定度可达±O.2%,并且长期稳定 |
|
量程比宽 |
量程比宽度达10:1 |
|
适用性广 |
可用于液体、气体和蒸汽流量等各种介质流量测量 |
|
有利于管道布局 |
笛形匀速管不仅适用于圆形管道,也适用于矩形管道。匀速管上下游直管段的长度要求比孔板低得多,给管道的布局设计带来了很大的灵活性,节省了费用 |
|
安装和维护更加简便 |
笛形匀速管重量轻,安装拆卸方便,无需起重工具,可以在被测管道不断流、不停车的情况下进行安装或拆卸 |
|
|
 |
|
1、量程比10:1 |
|
2、通用管径:100mm~3000mm |
|
3、测量精度:±1.5% |
|
4、重复精度:±0.2% |
|
5、工作压力:0~25Mpa |
|
6、工作温度:-20℃~500℃ |
|
7、适用介质:空气、煤气、烟气、天然气、自来水、锅炉给水、含腐溶液;饱和蒸汽、过热蒸汽等 |
|
8、连接方式:法兰连接、螺纹连接 |
|
 |
 |
|
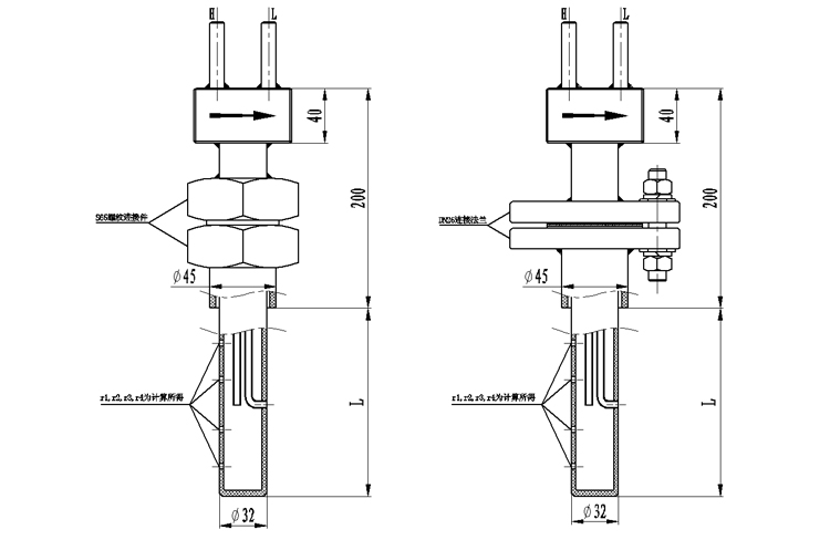
笛形匀速管安装尺寸示意图 |
|
注:图中“L”,“r1、r2、r3、r4”为客户提供的管道参数计算所得。 |
|
|

|
|
型号 |
说 明 |
|
HLVA |
笛型匀速管流量计 |
|
|
代号 |
按照结构形式分类 |
|
|
1 |
法兰连接笛型匀速管 |
|
|
2 |
螺纹连接笛型匀速管 |
|
|
代号 |
公称压力(MPa)(必选项) |
|
|
1.6 |
1.6 |
|
|
2.5 |
2.5 |
|
|
4.0 |
4.0 |
|
|
6.3 |
6.3 |
|
|
10 |
10 |
|
|
16 |
16 |
|
|
25 |
25 |
|
|
代号 |
口径 (必选项) |
|
|
100-3000 |
DN100-DN3000 |
|
|
代号 |
介质 (必选项) |
|
|
1 |
液体 |
|
|
2 |
气体 |
|
|
3 |
蒸汽 |
|
|
代号 |
补偿形式 (可选项) |
|
|
N |
不带压力、温度补偿 |
|
|
P |
带压力补偿输出 |
|
|
T |
带温度补偿输出 |
|
|
代号 |
变送器差压量程范围 (可选项) |
|
|
0 |
微差压量程 |
|
|
1 |
低差压量程 |
|
|
2 |
中差压量程 |
|
|
3 |
高差压量程 |
|
|
代号 |
是否带现场显示 (可选项) |
|
|
W |
节流装置传感器 |
|
|
X |
智能节流装置(流量计) |
|
1.请提供管道尺寸、壁厚、材质要求; |
|
2.请提供流体状况,如名称,最大最小常用温度,最大最小常用工作压力,最大最小常用流量(如果是气体,还需提供是在工作状态下或20℃、101.325KPa标准状态下,介质组分等),密度,粘度等; |
|
3.选择防腐型时,应注明被测腐蚀性介质和浓度百分比等。 |
|
 |
|
●要求工艺管道的内径与传感器的设计时一致。 |
|
●插入式匀速管传感器安装时除了高压孔应正对流速方向外,必须保证传感器检测杆与工艺管道的轴线垂直,夹角偏差应小于7°(图a);传感器总压孔中心与管道轴线夹角应小于7°(图b);检测杆沿管道直径方向插入到底部,其角度偏差小于7°(图c)。 |
|
|
安装时最大垂直误差示意图 |
|
●对于垂直管道传感器可安装在管道水平面沿管道圆周360的任何位置上,高低压引压管应处于同一平面上;当测量液体时,应向下侧倾斜安装;当测量气体时应向上倾斜安装。 |
|
●夹紧传感器的装置应保证不泄露,不松动,不位移。 |
|
●由于传感器是以速度面积法为基础,采用近似积分理论,用较多的点来描述。 |
|
|
|
分布方程,并且是在充分发展的速度分布条件下建立的。所以,为了能得到一个理想的分布,必须在传感器前后有一定长度的直管段(见下表) |
|
序号 |
均速管流量传感器安装位置 |
上游侧 |
下游侧 |
|
有整流器 |
无整流器 |
|
同一平面 |
不同平面 |
|
1 |
有一个90°弯头或三通 |
6D |
7D |
9D |
3D |
|
2 |
在同一平面内有两个90°弯头 |
8D |
9D |
14D |
3D |
|
3 |
在不同平面内有两个90°弯头 |
9D |
19D |
24D |
4D |
|
4 |
管道直径改变(收或扩) |
8D |
8D |
8D |
3D |
|
5 |
部分开启的闸阀、球阀或其它节流 |
8D |
8D |
8D |
3D |
注:(1)表中“D”为管道内径。(2)在管道段不足的情况下,上游应占管道全长的70%,下游占30%,此时仍可给出稳定的示值,但准确度下降。
|
|
 
|
 |
|
序号 |
故障现象 |
产生的原因 |
清除方案 |
|
1 |
无差压信号输出 |
1、高低压阀未打开 |
1、打开高低压阀 |
|
2、平衡阀未旋紧 |
2、旋紧平衡阀 |
|
2 |
差压信号输出过小 |
1、导压系统有泄漏现象 |
1、认真查找,排除泄露 |
|
2、二次表量程选配不当 |
2、调小差压变送器上限值 |
|
3 |
差压信号输出过大 |
1、二次表量程选配不当 |
1、调大差压变送器上限值 |
|
2、背压孔堵塞 |
2、清洗匀速管,排除堵塞 |
|
|
|