欢迎来到淮安卓悦科计自动化有限公司!

资讯热线:

400-6789-708 13852266663

淮安卓悦科计自动化有限公司

产品中心

新闻资讯

联系我们

电话:400-6789-708

手机:13852266663

邮箱:362636504@qq.com

地址:淮安市金湖县塔集镇闵桥工业集中区228号

旋进旋涡气体流量计

内置式压力、温度、流量传感器具备多种补偿方式可供用户选择,就地显示温度、压力、瞬时流量和累积总量,采用新型信号处理放大器和独特的滤波技术,有效地剔除了压力波动和管道振动所...

在线订购
旋进旋涡气体流量计旋进旋涡气体流量计
HLUX系列智能旋进旋涡气体流量计采用最新微处理技术,具有功能强、流量范围宽、操作维修简单,安装使用方便等优点,主要技术指标达到国外同类产品先进水平。广泛应用于石油、化工、电力、冶金、煤炭等行业各种气体、液体计量。
旋进旋涡气体流量计产品特点
 
1、内置式压力、温度、流量传感器具备多种补偿方式可供用户选择,安全性能高,结构紧凑,外形美观。
2、就地显示温度、压力、瞬时流量和累积总量。
3、采用新型信号处理放大器和独特的滤波技术,有效地剔除了压力波动和管道振动所产生的干扰信号,大大提高了流量计的抗干扰能力,使小流量具有出色的稳定性。
4、特有时间显示及实时数据存储之功能,无论什么情况,都能保证内部数据不会丢失,可永久性保存。
5、整机功耗极低,能凭内部电池长期供电运行,是理想的无需外电源就地显示仪表。
6、防盗功能可靠,具有密码保护,防止参数改动。
7、具备两线制和三线制4~20mA标准电流信号输出,脉冲输出和RS485接口。36.2-2010有关规定。隔爆型防爆标志为ExdⅡCT6。
本系列产品执行国家JJG198-94《速度式流量计检定规程》Q/320831AHH003-2004《HLUX系列智能旋进旋涡气体流量计》企业标准。
本系列产品经国家级仪器仪表防爆安全监督部(NEPSI)检定认可,符合国家标准GB3836.1-2010、GB38
旋进旋涡气体流量计产品特点
旋进旋涡气体流量计产品参数
1.标准状态条件:P=101.325kPa,T=293.15K
2.使用条件:
环境温度:-30~+60℃
介质温度:-20~+80℃
相对温度:5%~95% 大气压力:86KPa~106KPa
3、流量计规格、基本参数和性能指标(见表)
铝合金壳体旋进流量计流量范围 不锈钢壳体旋进流量计流量范围
型号规格 公称通径DN(mm) 流量范围(m3/h) 型号规格 公称通径DN(mm) 流量范围(m3/h)
HLUX-20 20 2.0-15.0 HLUX-20 20 2.0-15.0
HLUX-25 25 2.5-30.0 HLUX-25 25 2.5-30.0
HLUX-32 32 4.5-60.0 HLUX-32 32 4.5-60.0
HLUX-50 50 10.0-150.0 HLUX-50 50 10.0-150.0
HLUX-80 80 28.0-400.0 HLUX-80 80 28.0-400.0
HLUX-100 100 50.0-800.0 HLUX-100 100 50.0-800.0
HLUX-150 150 150.0-2250.0 HLUX-150 150 150.0-2250.0
HLUX-200 200 360.0-3600.0 HLUX-200 200 360.0-3600.0
该流量范围为产品出厂检定的流量范围(常温、常压下介质为空气,密度为1.205kg/m3);同时压力的增大,流量范围也随之增大。
4.电气性能指标
工作电源:外电源:+24VDC
内电源:3.6V锂电池;
整机功耗:外电源,<1W
内电源:<0.3mW,
输出方式:脉冲信号
4~20mA电池信号:对应流量0~Qmax,20mA对应流量可由用户自己设 定。
RS485通讯:可传输瞬时流量、累积流量、压力和温度参数。
旋进旋涡气体流量计产品外形尺寸
1、铝合金壳体旋进流量外表尺寸旋进旋涡气体流量计产品外形尺寸
铝合金壳体旋进流量计外形及安装尺寸表
公称通径 DN(mm) 压 力 等 级 (PN) 安装总长度 L(mm) 安装总高度 H(mm) 法兰外径 D(mm) 螺栓孔中心 圆直径 K(mm) 螺栓孔数量 n 螺栓孔直径 d
20 1.6MPa 160 410 105 75 4-Φ14
25 1.6MPa 180 420 115 85 4-Φ14
32 1.6MPa 200 430 140 100 4-Φ18
50 1.6MPa 232 440 165 125 4-Φ18
80 1.6MPa 330 490 200 160 8-Φ18
100 1.6MPa 413 510 220 180 8-Φ18
150 1.6MPa 575 560 285 240 8-Φ22
200 1.6MPa 700 620 340 295 12-Φ22
注:1、上表所有数据仅基于标准型旋进流量计; 2、与表中不同的压力和口径为特殊规格,特殊说明; 3、以上尺寸执行HG20593-2009法兰标准,特殊说明;

2.不锈钢壳体旋进流量计外形尺寸旋进旋涡气体流量计产品外形尺寸

不锈钢壳体旋进流量计外形尺寸
公称通径 DN(mm) 压 力 等 级 (PN) 安装总长度 L(mm) 安装总高度 H(mm) 法兰外径 D(mm) 螺栓孔中心 圆直径 K(mm) 螺栓孔数量 n 螺栓孔直径 d
20 4.0MPa 200 300 105 75 4-Φ14
25 4.0MPa 200 300 115 85 4-Φ14
32 4.0MPa 200 360 140 100 4-Φ18
50 4.0MPa 230 370 165 125 4-Φ18
50 6.3MPa 240 390 180 135 4-Φ22
80 1.6MPa 330 420 200 160 8-Φ18
80 6.3MPa 330 430 215 170 8-Φ22
100 1.6MPa 410 485 220 180 8-Φ18
150 1.6MPa 570 510 285 240 8-Φ22
200 1.6MPa 700 570 340 295 12-Φ22
注:1、上表所有数据仅基于标准型旋进流量计; 2、与表中不同的压力和口径为特殊规格,特殊说明; 3、法兰执行标准HG20593-2009,特殊说明;
旋进旋涡气体流量计产品选型

旋进旋涡气体流量计产品选型旋进旋涡气体流量计产品选型

旋进旋涡气体流量计产品功能

1)0.8~3KHz等精度测频;
2)4-20mA输出;
3)上下限报警输出,其监控的参数、高低报警和电平输出方式可根据需要设置;
4)三路12位AD输入(温度、压力、电池电压);
5)0~1000Hz频率输出;
6)累积流量可记录;
7)整机平均功耗450μA。
旋进旋涡气体流量计接线指南
跳线版旋进旋涡气体流量计接线指南 拨码版旋进旋涡气体流量计接线指南

接线端子含义如下:

+24V 24V 电源输入(正)
-24V 24V 电源输入(负)
电流输出 4 ~ 20mA 输出
频率输出 24V 脉冲输出
(报警)上限 上限报警输出
(报警)下限 下限报警输出
GND 3V脉冲输出地
BF 3V 脉冲输出
RS485 A 485 通讯线(A+)
RS485 B 485 通讯线(B+)
跳线(拨码)图旋进旋涡气体流量计接线指南
三线制时,J5、J6 跳线帽都跳到左边 三线制时,如图,拨码拨到上端
两线制时,J5、J6 跳线帽都跳到右边 两线制时,如图,拨码拨到下端

接线示意图

旋进旋涡气体流量计接线指南旋进旋涡气体流量计接线指南旋进旋涡气体流量计接线指南

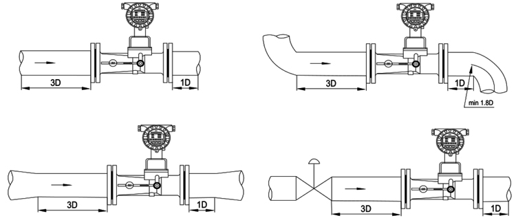
旋进旋涡气体流量计安装要求
1、流量计应根据流向标志安装。
2、流量计可水平、垂直或任意角度倾斜安装。
3、上下游直管段要求见图1
4、被测介质内除含有较大颗粒或较长纤维性杂质外,一般无需安装过滤器。
5、流量计周围不应有强外磁场干扰及强烈的机械振动。
6、流量计必须可靠接地。
旋进旋涡气体流量计安装要求
旋进旋涡气体流量计常见故障及解决方法
1.在运行过程中若发生流量计显示值与实际流量示值不符合时,应首先检查用户的管道系统是否符合流量计的安装要求。
2.故障排除见表
故障现象 可能原因 排除方法
接通外电源后无输出信号 1.管道无介质流量或流量低于始动流量 1.提高介质流量,使其满足流量要求
2.检查电源与输出线连接是否正确 2.正确接线
3.前置放大器损坏(积算仪不计数,瞬时值为“0”) 3.更换前置放大器
无流量时流量计有流量显示 1.流量计接地不良及强电和其它地线接线受干扰 1.正确接好地线,排除干扰
2.放大器灵敏度过高或产生自激 2.更换前置放大器
3.供电电源不稳,滤波不良及其他电气干扰 3.修理、更换供电电源,排除干扰
瞬时流量示值显示不稳定 1.放大器灵敏过高或过低,有多计、漏计脉冲现象 1.更换前置放大器
2.流量计叶轮转速不稳定 2.对叶轮重新安装或排除脏物
3.接地不良 3.检查接地线路,使之正常
累积流量示值和实际量 不符合 1.流量计仪表系数输入不正确 1.重新标定后输入正确的仪表系数
2.用户正常流量低于或高于选用流量计的正常流量范围 2.调速管道流量使其正常或选用合适的规格
3.流量计本身超差 3.重新标定
转换显示 不正常 转换按键接触不良 更换按键
睡眠唤醒或换上新电池出现列机 上电复位电路不正常或振动电路不起振 重新电池(需取出后延时5秒后重装)

热门产品

在线客服
联系方式

热线电话

13852266663

上班时间

周一到周五

公司电话

400-6789-708

线